Vorreiber - 669 VK8
bestellen
PDF drucken
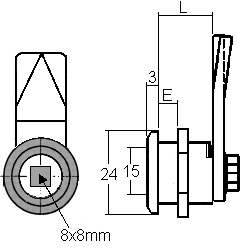
E = Material max.
10mm
L =
20mm
Riegel
Schliessweg
ähnliche Produkte
R669P0040
90°
DIN 3755 VK8
DIN VK 8
DE
|
FR
|
Home
|
Unternehmen
|
Kontakt
|
Impressum
|
Datenschutz
Produkte
News
Info's
Standort
Kontakt
Bestellformular
Bestellinformationen
Schliesswegtabelle
Pflegehinweis
Montagehinweise
Nachschlüssel
Links
Händlerverzeichnis
Download
AGB
Katalog 2025
Produktefilter
- Suche auf ganzer Webseite -
Schlüssel
Code Schlösser etc.
Schraubzylinder
Klemmzylinder
Druckzylinder
Vorreiber
Griffe und Knöpfe
Profilzylinder
Spezialzylinder
Möbelschlösser
Zubehör
Zusatzfilter
- Material-Stärke -
max. 5.0 mm
max. 6.0 mm
max. 7.0 mm
max. 8.0 mm
max. 10.0 mm
max. 20.0 mm
max. 26.0 mm
max. 33.0 mm
max. 50.0 mm
- Durchmesser -
16 mm
19 mm
20 mm
22 mm
PDF drucken
Diese Kategorie drucken
Suche drucken
DIN VK 6
DIN VK6 Spezial GH40
DIN VK 7
DIN VK 8
DIN VK8 GH30
669 VK8
DIN 3755 VK8
DIN 3019 VK8
DIN DK 7
DIN DK 8
DIN DB
DIN DB 3
DIN DB 5
911-220A
911-220C
911-220D
6626 / DIN M16
1184
1206-6
1700-70
9116
6656
6642 / DIN M16
5073
911-250/95
911-250
1206-10
6637 / DIN M16
6637 Spezial
diverse DIN